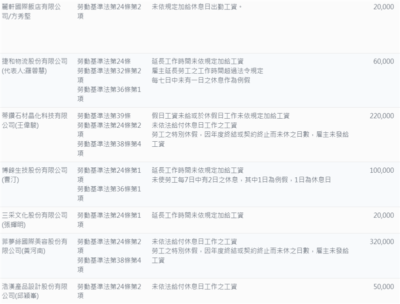
常見的違法行為包括未發加班費、短發加班費、加班費定額給付不足等。這些行為不僅違反了勞動基準法,也損害了勞工的合法權益。主管機關將對這些違法行為進行調查,並根據相應的法律法規予以處罰,罰金高達百萬元。
對於企業而言,及時自主檢視並改善違法行為是至關重要的。在勞資爭議爆發之前,企業應該盡快納入合法合規的軌道,確保勞工的權益得到保障。

▲台灣勞基諮詢顧問 孫偉騰 (圖/台灣勞基提供) 粉絲專頁★免費諮詢請撥打免費諮詢專線 0989422478 孫顧問
加LINE好友諮詢:https://line.me/ti/p/cTOCQ0tCxt
台灣勞基諮詢顧問孫偉騰表示,如果雇主不給予加班費,勞工可以考慮以下幾種方式應對:
與雇主溝通: 首先,勞工可以嘗試與雇主溝通,表達對未支付加班費的關注和要求。有時候,這可能是一個誤解或管理上的疏忽,通過溝通可以解決問題。
了解法律權利: 勞工應該了解自己的法律權利,包括勞動基準法中有關加班費的規定,雇主有義務支付加班費給予超時工作的勞工。
保留證據: 勞工可保留相關的工作時間記錄和通訊記錄,以證明自己的工作時數和加班情況。這些證據將有助於支持勞工的索賠。
尋求協助: 如果與雇主的溝通未能解決問題,勞工可以尋求協助,包括向勞工局或工會舉報,並諮詢勞務師以獲取正確的建議和協助。
考慮提起訴訟: 如果所有其他方式都無法解決問題,勞工可以考慮提起訴訟,向法院主張自己的權利,要求雇主支付應有的加班費用。這通常需要專業勞務師協助。
在面對雇主不支付加班費的情況時,勞工應該保持冷靜,不要輕易行動,並儘量通過合法途徑解決問題。同時,雇主也應該遵守勞基法法規,確保勞工的合法權益得到保障,以維護勞資關係的穩定與和諧。
![]()
▲ (圖/台灣勞基提供) 粉絲專頁